-
降低噪音
減少震動、降低噪音。
-
高氣密性
高彈性、高氣密性,耐介質性和耐氣候性。
-
伸縮性好
伸縮性好,使用方便。
-
-
-
-
-
-
產品優點
產品介紹
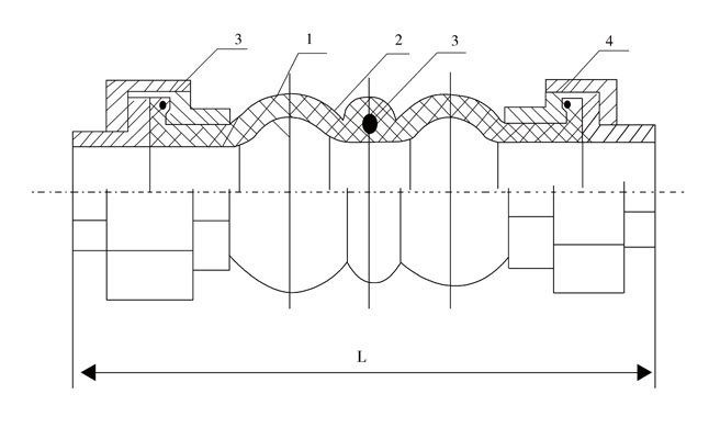
JGD-B型絲扣連接橡膠接頭由內層、增強層,外膠層復合模型硫化成型的橡膠雙球和金屬平行活接頭組成。產品耐壓高,彈力足,位移變形量大,減震又降噪,絲扣連接又稱螺紋連接,它是通過內外螺紋把管道與管道、管道與閥門連接起來的一種管道配件。這種連接主要用于鋼管、銅管和高壓的連接,焊接鋼管的螺紋日前大部分采用套螺紋機操作,而對于螺紋加工精度和表面粗糙度要求很高的高壓管道都必須用車床加下。該產品可廣泛用于賓館、工廠、住宅區的水暖管道系統以及循環管系統,衛生管道、化學防腐和冷凍管道等。
產品參數
技術條件
| 工作壓力Mpa(kgf/cm2) | 1.0(10) | 偏轉角度 | (a1+a2)45° |
| 爆破壓力Mpa(kgf/cm2) | 3.0(30) | 真空度Kpa(mm/Hg)Vacuum | 53.3(400) |
| 適用溫度℃ | -15℃+115℃特殊可達-30℃~+250℃ | ||
| 適用介質 | 空氣、壓縮空氣、水、海水、熱水、油、酸、堿等 | ||
主要尺寸信息
| 公稱通徑DN | 長度(mm) | 軸向位移(mm) | 橫向位移 | ||
| 毫米mm | 英寸 | 伸長 | 壓縮 | (mm) | |
| 20 | 0.75 | 180 | 5-6 | 22 | 22 |
| 25 | 1 | 180 | 5-6 | 22 | 22 |
| 32 | 1.25 | 200 | 5-6 | 22 | 22 |
| 40 | 1.5 | 210 | 5-6 | 22 | 22 |
| 50 | 2 | 220 | 5-6 | 22 | 22 |
| 65 | 2.5 | 245 | 5-6 | 22 | 22 |
語言:簡體中文
English
Русский
簡體中文












