-
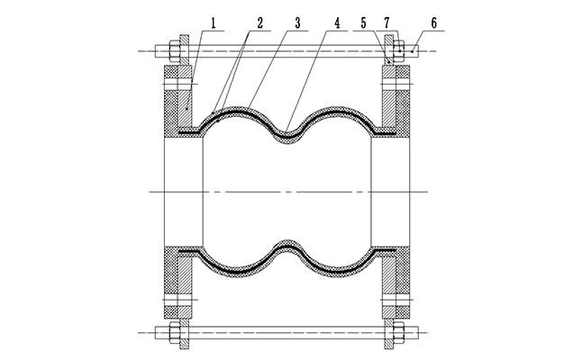
鍛造法蘭
法蘭采用JB/T 81-94標準鍛造,無下差
-
三元乙丙橡膠球
橡膠球采用三元乙丙橡膠,含膠量為40%以上,抗拉、抗壓、耐老化、耐高溫、耐低溫
-
碳鋼抗壓環提高球體強度
帶碳鋼抗壓環,球體簾子布中間纏繞鋼絲,提高球體強度
-
限位螺栓防拉脫
帶限位螺栓,防止球體拉脫
-
出廠檢驗保證合格
每臺產品出廠前都會進行球體外觀、硬度、氣密性、承壓和法蘭防拉脫等檢驗,不合格產品堅決不允許出廠
-
法蘭噴涂抗氧化
法蘭采用噴涂處理,噴涂厚度大于250um,可將潮濕環境下產生的生銹降低70%以上,提高抗氧化率20%以上
-
兩年內壞一個賠兩個
般德品牌產品國內外各有太平洋保險500萬保額的品質承保(保單號:ATIJ04007120Q000006E),承保范圍29類,共1000余種產品,質保2年,兩年內壞一個賠兩個。
-
-
產品優點
產品介紹
般德纏繞式三球橡膠接頭,產品配置:Q235碳鋼法蘭,EPDM球體;該產品適用于水、空氣、油品等介質,廣泛應用在市政建設、水利工程、電力、給排水、水處理、化工等領域。
產品參數
| 主要零部件信息 | 名稱 | 1-法蘭 | 2-球體 | 3-簾子布 | 4-鋼絲 | 5-耳板 | 6-限位螺栓 | 7-螺母 |
| 材質 | Q235 | EPDM | 尼龍 | 碳鋼 | 碳鋼 | 碳鋼 | 碳鋼 | |
| 尺寸信息 | 可根據客戶要求定制尺寸 | |||||||
語言:簡體中文
English
Русский
簡體中文











