-
HT200材質閥體,具備一定抗拉強度
鑄鐵材質閥體采用HT200,完全執行GB/T12229-2005抗拉強度180~210Mpa、出廠帶試棒。
-
閥板與閥座堆焊黃銅、更耐磨
閥板與閥座均堆焊黃銅,增加密封性和耐磨性。
-
不合格產品堅決不允許出廠
每臺產品都會進行外觀、材質、氣密性、承壓和殼體等檢驗,不合格產品堅決不允許出廠。
-
嚴格涂漆標準,確保產品外觀
閥門先涂底漆,在涂面漆,確保產品外觀。
-
-
-
-
-
產品優點
產品介紹
Z45T暗桿鑄鐵閘閥主要是作為管道中接通與截斷介質的作用。該閥的啟閉件為閘板,閘板的運動方向與介質的流動方向是相互垂直的。鑄鐵暗桿閘閥以灰鑄鐵為主要材質,具有啟閉便捷、密封可靠、彈性記憶佳、使用壽命長等優點,可廣泛的在冶金、污水、電力、醫藥、建筑、食品、輕紡、自來水、能源等管道系統上作為截流裝置使用。般德Z45T-10/16鑄鐵閘閥產品配置:閥體/閥蓋:HT200 閥板:HT200 閥桿:Q235 閥座:堆焊黃銅 手輪:HT200。
產品參數
Z45T暗桿鑄鐵閘閥參數信息
| 閥門執行標準 | 名稱 | 設計及制造 | 結構長度 | 試壓標準 | 連接法蘭尺寸 | ||||
| 參照標準 | GB/T 12232 | GB/T 12221 | GB/T 13927 | GB/T 17241.6 | |||||
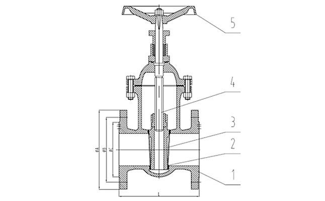
| 主要零部件信息 | 名稱 | 1-閥體 | 2-閥座密封 | 3-閥板 | 4-閥桿 | 5-手輪 | |||
| 材質 | HT200 | 堆焊黃銅 | HT200 | Q235 | HT200 | ||||
| 尺寸信息 | 公稱尺寸 | 結構長度 | PN10 | PN16 | |||||
| DN | NPS(英寸) | L | ΦA | ΦB | ΦC | ΦA | ΦB | ΦC | |
| 40 | 1 1/2'' | 165 | 145 | 110 | 85 | 145 | 110 | 85 | |
| 50 | 2'' | 178 | 160 | 125 | 100 | 160 | 125 | 100 | |
| 65 | 2 1/2'' | 190 | 180 | 145 | 118 | 180 | 145 | 118 | |
| 80 | 3'' | 203 | 195 | 160 | 132 | 195 | 160 | 132 | |
| 100 | 4'' | 229 | 215 | 180 | 156 | 215 | 180 | 156 | |
| 125 | 5'' | 254 | 245 | 210 | 184 | 245 | 210 | 184 | |
| 150 | 6'' | 280 | 280 | 240 | 211 | 280 | 240 | 211 | |
| 200 | 8'' | 330 | 335 | 295 | 266 | 335 | 295 | 266 | |
| 250 | 10'' | 380 | 390 | 350 | 320 | 400 | 355 | 320 | |
| 300 | 12'' | 420 | 440 | 400 | 370 | 455 | 410 | 370 | |
語言:簡體中文
English
Русский
簡體中文












